Obchod Apple Marina Bay Sands, Singapur Generální ředitel Tim Cook pokračoval ve své cestě po Asii návštěvou...
MAC
Delta, herní emulátor pro iPhone Po kontroverzi o víkendu byl emulátor hry Delta zpřístupněn v App Store...
Nové „Star City“ se vrátí na začátek „For All Mankind“ a uvidí život ze sovětské strany Hit...
Solární farma Apple Apple nadále zvyšuje své ekologické úsilí a odhaluje nové projekty na zvýšení využívání čisté...
Příklad chyby vlajky Jeruzaléma v iMessage pro iOS. Druhá vývojářská beta verze iOS 17.5 od Applu opravila...
Apple umožňuje vývojářům z EU přeskočit App Store a nabízet sideloading ze svých webových stránek Nová beta...
Obrázek hrdiny článku Nová zpráva naznačuje, že každý technologický gigant nedokázal své uživatelské základně poskytnout klíčové nástroje...
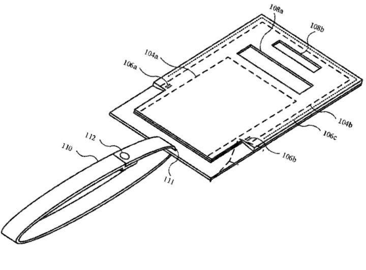
Nové příslušenství podobné štítku zavazadel navržené společností Apple Apple získal patent na nové příslušenství, které by obsahovalo...